黄瓜视频免费观看,黄瓜官网软件下载,黄瓜视频APP成年,黄瓜视频软件下载



language 中文簡體 中文繁體 English 目錄在線 目錄下載 收藏黄瓜视频免费观看在線留言站點地圖

黄瓜视频免费观看電機散熱風扇廠家專注如AC黄瓜视频软件下载,DC直流散熱風機生產
深圳工廠:0755-28035670業務專線:13603004952

台灣黄瓜视频免费观看 - 32年散熱風扇研發製造工廠

Taiwan SANJU Electric

深圳市黄瓜视频免费观看電機有限公司

聚焦黄瓜视频免费观看,了解更多風扇知識

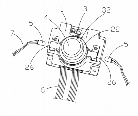
​帶有溫度指示燈和散熱風扇調速器的電腦主機開關

行業新聞​帶有溫度指示燈和散熱風扇調速器的電腦主機開關

本文涉及一種電腦的主機開關,尤其涉及一種兼帶有反映主機機箱內部溫度高低的指示燈和調節電腦 散熱風扇 轉速大小的功能的電腦主機開關。 現有的電腦中,主機機箱內部的中央處…

Sep 19, 2019
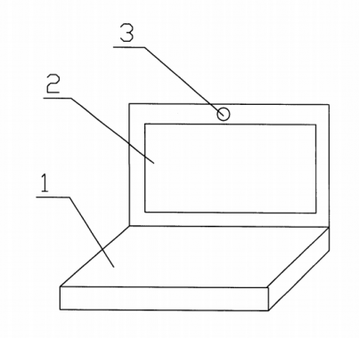
​散熱風扇型筆記本電腦

行業新聞​散熱風扇型筆記本電腦

一種散熱風扇型筆記本電腦,該散熱風扇型筆記本電腦自帶散熱風扇…

Sep 19, 2019
​一種分體式無風扇電腦散熱裝置

行業新聞​一種分體式無風扇電腦散熱裝置

本文涉及電腦散熱技術領域,具體地講是一種分體式無風扇電腦散熱裝置。 眾所周知,電腦主機發出的噪音令人很煩惱,對此人們開發了多種企圖降低CPU及電源風扇噪音汙染源的黄瓜视频APP成年。…

Sep 19, 2019
​一種二合一電腦數碼年曆散熱風扇

行業新聞​一種二合一電腦數碼年曆散熱風扇

本文屬於家用電器技術領域,涉及一種二合一電腦數碼年曆散熱風扇。 …

Sep 19, 2019
​一種用彈簧減震的低躁音電腦散熱風扇

行業新聞​一種用彈簧減震的低躁音電腦散熱風扇

本文涉及一種電腦散熱裝置,特別是指一種用彈簧減震的低躁音電腦散熱風扇。 …

Sep 19, 2019
​一種可快速拆裝電腦散熱風扇的散熱組件、電腦散熱風扇座與電腦

行業新聞​一種可快速拆裝電腦散熱風扇的散熱組件、電腦散熱風扇座與電腦

本文是關於一種散熱組件、電腦散熱風扇座與電腦,尤其是一種可快速拆裝電腦散熱風扇的散熱組件、電腦散熱風扇座與電腦。…

Sep 19, 2019
​一種電腦散熱風扇控製方法

行業新聞​一種電腦散熱風扇控製方法

本文涉及一種電腦散熱風扇控製電路及一種電腦散熱風扇控製方法。 …

Sep 09, 2019
​一種電腦散熱風扇控製電路

行業新聞​一種電腦散熱風扇控製電路

現有的散熱風扇中隻有4引腳散熱風扇可以通過PWM實現智能散熱風扇功能,而3引腳散熱風扇由於沒有對應的引腳因此無法接收PWM信號,因此3引腳散熱風扇仍需利用改變其工作電壓大小來…

Sep 09, 2019
  • 首頁
  • 上一頁
  • 10
  • 11
  • 12
  • 13
  • 14
  • 15
  • 16
  • 17
  • 18
  • 19
  • 20
  • 下一頁
  • 末頁
  • 28223條記錄
  • 
    關閉

    微信公眾號

    谘詢熱線
    +86-755-2803-5670
    在線客服
    top
    網站地圖