本文涉及電腦主機的散熱風扇,尤指一種可由外部遙控且能依據不同溫度的變化自動調控風扇轉速的電腦主機的遙控散熱風扇。
一般電腦的主機為使工作時產生的熱量得以散發,通常於機殼內設有一個或一個以上的散熱風扇,當電腦工作時可將機殼內的溫度降低,以保持電腦的正常運作,由於電腦主機的風扇均采用固定式設計,無法隨溫度變化調控其不同的轉速,更無法由外部予以操控。因此,習知風扇於電腦開機後隻能不停的轉動,不但耗電且可能因持續高速運轉而降低其使用壽命,確實不夠理想。
本文的主要目的,在於提供一種電腦主機的遙控散熱風扇,其可由外部操控,依據其內部溫度的變化合理調控風扇的轉速,可使風扇更省電、且可降低風扇燥音、提高其使用壽命。

為達上述目的,本文的一種電腦主機的遙控散熱風扇,主要在電腦主機內設有一微處理器,該微處理器分別連接於轉速撿知控製回路及速度控製回路,該等回路連接於不同的係統風扇及CPU風扇;該微處理器還連接有一LCD顯示器;其特征在於:
該微處理器又連接一外部遙控器及一遙控控製裝置,由一外部遙控器發射信號、由遙控控製裝置接收信號後,自動調控各風扇的啟閉及轉速。其中:所述微處理器又連接有一A/D轉換器及一CPU溫度感知電路,由該感知電路偵測CPU的溫度變化,依該溫度變化而自動調控各散熱風扇的轉速。
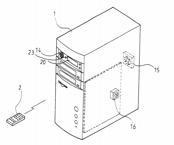
微處理器還連接一按鍵、一LCD驅動回路及一-LCD顯示器,而LCD顯示器設於電腦主機的機殼前方,且可由外置按鍵設定散熱風扇的動作。
由於該微處理器連接一外部遙控器及一遙控控製裝置,並由一外部遙控器發射信號、該遙控控製裝置接收信號,故可自動調控各散熱風扇的啟閉及轉速,使電腦主機更具實用性及更具人性化。
另,該電腦主機的遙控風扇還連接有一A/D轉換器及一CPU溫度感知電路,由該感知電路偵測CPU的溫度變化,依該溫度變化可自動調控各散熱風扇的轉速,使電腦主機更省電,且可提高散熱風扇的使用壽命。
又,該電腦主機的遙控散熱風扇的微處理器連接一按鍵、一LCD驅動回路及一LCD顯示器,而LCD顯示 器設於電腦主機的機殼前方,除了可觀視其溫度的變化、各風扇的轉速外,還可由外置按鍵設定散熱風扇的動作,使整個電腦主機更具實用性。