黄瓜视频免费观看,黄瓜官网软件下载,黄瓜视频APP成年,黄瓜视频软件下载



language 中文簡體 中文繁體 English 目錄在線 目錄下載 收藏黄瓜视频免费观看在線留言站點地圖

黄瓜视频免费观看電機散熱風扇廠家專注如AC黄瓜视频软件下载,DC直流散熱風機生產
深圳工廠:0755-28035670業務專線:13603004952

台灣黄瓜视频免费观看 - 32年散熱風扇研發製造工廠

Taiwan SANJU Electric

深圳市黄瓜视频免费观看電機有限公司

聚焦黄瓜视频免费观看,了解更多風扇知識

​電腦散熱風扇風量測量裝置

返回列表 發布日期: Sep 19, 2019

本文涉及風量測量裝置,特別涉及一種電腦散熱風扇風量測量裝置。

現今,電腦已經廣泛應用於人們的生活、工作及學習等各個領域之中,其重要性不言而喻。眾所周知,高溫是影響電腦穩定性一個十分關鍵的因素,尤其對於設備頻率較高的電腦,散熱工作在夏天顯得特別重要。

目前的係統散熱風扇被固定在電腦中以後,係統散熱風扇在電腦係統中的工作狀態即無法得知,即無法得知係統散熱風扇在運行過程中的風量,這樣就不利於評估係統風扇的I作效能。

鑒於以上內容,有必要提供一種電腦散熱風扇風量測量裝置,以方便測量電腦散熱風扇的風量。一種電腦散熱風扇風量測量裝置,包括一導流罩及一固定環,所述導流罩及固定環中心均對應設有一開孔,所述固定環上還設有至少一熱線風速探頭,所述熱線風速探頭的探測端伸入所述固定環的開孔中,所述導流罩與所述固定環緊配合。

散熱風扇

一種電腦風扇風量測量裝置,包括一導流罩、一基架及一固定環,所述導流罩、基架及固定環中心均對應設有一開孔,所述導流罩及固定環分別設於所述基架兩側,所述固定環上:還設有至少一熱線風速探頭,所述熱線風速探頭的探測端伸入所述固定環的開孔中。

上述電腦散熱風扇測量架可放置於電腦係統風扇出口處,利用導流罩使係統散熱風扇排風經過熱線風速探頭,配合風速測量儀即可量取電腦散熱風扇的風量,方便了電腦散熱風扇效能評估。

下麵結合附圖及較佳實施方式對本文作進一步詳細描述:

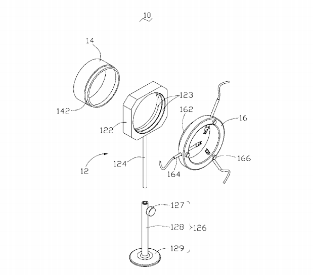
圖I是本文電腦散熱風扇風呈測量裝置較佳實施方式的立體分解圖。

圖2是本文電腦散熱風扇風量測量裝置較佳實施方式的立體組裝圖。

圖3是本文電腦散熱風扇風量測量裝置另一較佳實施方式的立體圖。

具體實施方式

參考圖1及圖2,“一種電腦風扇風量測量裝置10,包括一基架12、設於所述基架12一側的一圓形 導流罩14及設於所述基架12另一側的一圓形固定環16,所述基架12、導流罩14及固定環16中心均對應設有一圓形開孔。

所述基架12包括一方形主體122、從所述主體122一端向下垂直延伸的一支杆124及一支撐架126,所述支撐架126包括一圓形底盤129、從所述底盤129向上垂直延伸的一中空杆體128以及設於所述中空杆體128側麵的一調節螺絲127,所述支杆124可插入所述中空杆體128中,其伸入程度由所述調節螺絲127控製。

所述導流罩14及所述固定環16一側分別設有一配合部142和162,所述基架12的主體122兩側對應所述配合部142和162設有兩容置部123,所述配合部142及162與所述容置部123緊配合,從而將所述導流罩14及固定環16與裝設於所述基架12的主體122上。

所述固定環16上設有三個熱線風速探頭164,所述熱線風速探頭164均勻排布於所述固定環16上並分別將其探測端伸入所述固定環16的開孔中,所述固定環16的側麵對應所述熱線風速探頭164設有三個緊固螺絲166,所述緊固螺絲166用來固定所述熱線風速探頭164。

進行風量測量時,隻需將所述電腦風扇風量測量裝置10的導流罩14對準一電腦風扇的出口處,使係統風扇排風經過所述熱線風速探頭164,用一風速測量儀分別量取所述熱線風速探頭164上的數值後通過計算即可獲得電腦風扇的平均風速,從而得到電腦風扇的風量。

繼續參考圖3,在本文的另一個較佳實施方式中,一電腦風扇風量測量裝置20包括所述圓形導流罩14及所述圓形固定環16,所述導流罩14一側設有一配合部,所述固定環16一側對應所述配合部設有一容置部,所述配合部及所述容置部緊配合,所述導流罩14另一側設有一磁性材料塗層,所述導流罩14可吸附於所述電腦風扇的出口處,借此,運用一風速測量儀分別量取所述熱線風速探頭164上的數值即可獲得電腦風扇的平均風速,從而得到電腦風扇的風量。



關閉

微信公眾號

谘詢熱線
+86-755-2803-5670
在線客服
top
網站地圖