本文涉及一種電腦的主機開關,尤其涉及一種兼帶有反映主機機箱內部溫度高低的指示燈和調節電腦散熱風扇轉速大小的功能的電腦主機開關。
現有的電腦中,主機機箱內部的中央處理器以及其它電子設備,都會釋放出大量的熱量,為了保證電腦係統的正常穩定的工作,必須將這些熱量及時快速的散發出去。因此,在電腦主機機箱內都要安裝散熱風扇幫助散熱。電腦電子元件產生的熱量多少是波動變化的。目前的電腦,在機箱麵板.上都沒有安裝能反映主機機箱內部溫度高低的指示燈,更加沒有安裝能調節電腦散熱風扇的轉速大小的裝置,無法做到按照實際變化來調節散熱風扇的轉速。
本文的目的在於提供一種兼帶有反映主機機箱內部溫度高低的指示燈和調節電腦散熱風扇轉速大小的功能的電腦主機開關。

為實現上述目的,本文提供一種帶有溫度指示燈和散熱風扇調速器的電腦主機開關,其包括一盒體、一透明的插燈件、一散熱風扇轉速調整旋鈕、一電源開關按鈕、兩機箱溫度指示燈:該插燈件裝在該盒體上,其中間設有一殼體,該殼體的中間開設有一開口,該殼體向外延伸設有兩收容孔;該散熱風扇轉速調整旋鈕安裝在該插燈件的開口中,其中間開設有一通孔;該電源開關按鈕安裝在該散熱風扇轉速調整按鈕的通孔中;該兩機箱溫度指示燈插入該插燈件的兩收容孔中。
本文具有以下有益效果:本文中,在電源開關按鈕的旁邊安裝了兩個機箱溫度指示燈,當機箱內部溫度到達預定的溫度值時,該兩指示燈發光,由於該插燈件是透明的,因此人可以從機箱麵板處看到該兩指示燈發光的效果,就能知道機箱內部溫度已經比較高;在電源開關按鈕4的旁邊安裝了一散熱風扇轉速調整旋鈕,當人看到兩個機箱溫度指示燈發光之後,可以調節該散熱風扇轉速調節旋鈕,加快散熱風扇的轉速,使機箱內熱量快速散去,保證了電腦係統安全穩定的工作。
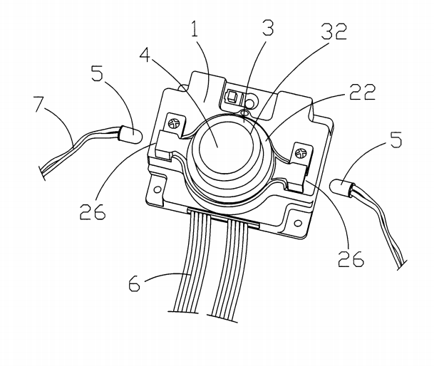
請參閱圖1至圖2,一種帶有溫度指示燈和散熱風扇調速器的電腦主機開關,其包括一盒體1、一插燈件2、一散熱風扇轉速調整旋鈕3、一電源開關按鈕4、兩機箱溫度指示燈5。
該盒體1內包括一具有電源開關控製電路和散熱風扇轉速調整控製電路的電路板(圖未示)、一連接在該電路板上的電連接器(圖未示),該電連接器_上連接若幹導線6,該導線6將電信號傳送到電腦主機機箱內相應硬件裝置上。
該插燈件2插裝在該盒體1一麵上,其中間是一圓環形的殼體22,該殼體22的中間開設有一個圓形的開口24,該殼體22相對的兩端各向外延伸設有一收容孔26。該插燈件2整體都是由透明材料製成。
該散熱風扇轉速調整旋鈕3是一圓柱形的殼體,其安裝在該插燈件2的開口24中,該殼體中間開設有一個圓形的通孔32,該散熱風扇轉速調整旋鈕3可以在相反的方向上旋轉,向某一方向旋轉時控製散熱風扇轉速加快,向相反方向旋轉時控製散熱風扇轉速減慢。
該電源開關按鈕4安裝在該散熱風扇轉速調整按鈕3的通孔32中,按壓一次該電源開關按鈕4主機接通電源,再按壓一次該電源開關按鈕4主機切斷電源。
該兩機箱溫度指示燈5連接在一根導線7上,該導線7另一端連接在電腦機箱內的溫度感應器上,該兩機箱溫度指示燈5分別插入該插燈件2兩端的收容孔26中。當機箱內部溫度到達預定的溫度值時,該兩指示燈5發光。
本文中,在電源開關按鈕4的旁邊安裝了兩個機箱溫度指示燈5,當機箱內部溫度到達預定的溫度值時,該兩指示燈5發光,由於該插燈件2是透明的,因此人可以從機箱麵板處看到該兩指示燈5發光的效果,就能知道機箱內部溫度已經比較高;在電源開關按鈕4的旁邊安裝了一散熱風扇轉速調整旋鈕3,當人看到兩個機箱溫度指示燈5發光之後,可以調節該散熱風扇轉速調節旋鈕3,加快散熱風扇的轉速,使機箱內熱量快速散去,保證了電腦係統安全穩定的工作。